22с-50-1-Э

+7 (343) 310-16-39
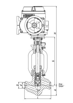
|
d, мм: |
50 |
|
h, мм: |
450 |
|
D, мм: |
76 |
|
L, мм: |
250 |
|
H, мм: |
740 |
|
А, мм: |
95 |
Присоединение к трубопроводу: под сварку.
Климатическое исполнение: У, УХЛ, Т по ГОСТ 15150-69.
Категория размещения: 3, 4, 5 по ГОСТ 15150-69.
Установочное положение на трубопроводе: горизонтальное.
Направление подачи рабочей среды: на седло. По стрелке на корпусе.
Герметичность затвора: класс IV ГОСТ 9544-2015.
Управление осуществляется:
• встроенными электроприводами МЭОФ производства
ОАО "АБС ЗЭиМ Автоматизация", г. Чебоксары;
• других производителей со стандартными узлами
присоединения.
Технические характеристики
|
DN, мм |
Рр, МПа |
Tmax среды, ºC |
Материал корпуса, сталь |
Рабочая среда |
Макс. Kv, м³/ч |
Макс. перепад давления, МПа |
F, см² |
Рабочий ход золотника, градусов |
Мкр., Н·м, не более |
Обозначение эл. привода |
N, кВт |
Время полного открытия (закрытия), сек |
Масса изд. без эл. прив., кг |
Масса изделия, кг |
|
50 |
13,7 |
560 |
12Х1МФ |
пар |
по ТЗ Заказчика от 0,2 до 14,6 |
7 ,0 |
по ТЗ Заказчика от 0,05 до 4,46 |
90 |
250 |
МЭОФ-250/25-0,25У-99К |
0,25 |
25 |
45 |
69 |
Условные обозначения
Клапаны-регуляторы температуры прямоточные, дисковые, DN 20-65 типа 22с предназначены:
- для регулирования температуры пара в тракте котла в качестве клапанов впрыска;
- для регулирования температуры редуцированного пара в ОУ, РОУ, БРОУ энергоблоков и других трубопроводах, в том числе на трубопроводах непрерывной продувки.