Т-132МС

+7 (343) 310-16-39
• цапковое;
• фланцевое.
Рассчитано на нагрузки от массы клапана и реактивных усилий, возникающих при его срабатывании.
Установочное положение: вертикально в наиболее высокой части защищаемого объекта.
Климатическое исполнение: У, УХЛ, ХЛ, Т по ГОСТ 15150-69.
Категория размещения: 2, 3 по ГОСТ 15150-69.
|
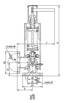
L, мм: |
416 |
|
H, мм: |
740 |
|
h1, мм: |
160 |
|
D1, мм: |
230 |
|
D2, мм: |
280 |
|
Диаметр вх./вых., мм: |
80/150 |
|
d1, мм: |
80 |
|
d2, мм: |
147 |
|
d3, мм: |
180 |
|
d4, мм: |
240 |
|
d5, мм: |
133 |
|
d6, мм: |
121 |
|
d8, мм: |
23 |
Технические характеристики
| DN, мм | PN, МПа | Tmax среды, ºC | Материал корп., сталь | Раб. среда | Раб. ход, mm | F, см² | Диапазон настройки клапана Рн, МПа | μ, не менее | n | n1 | d7, мм |
| 80 | 10 | 450 | 20 | пар | 15+3 | 30,2 | 3,5-4,5 | 0,65 | 8 | 8 | 26 |
Условные обозначения
|
μ - коэффициент расхода для жидкости ζ - коэффициент сопротивления DN - номинальный диаметр; мм |
F - площадь седла; см2 h - ход арматуры; мм Kv - пропускная способность; м3/ч |
|
PN - номинальное давление; кгс/см2 Pp - рабочее давление; МПа Tmax- максимальная расчётная температура; °C |
Mкр.-крутящий момент на шпинделе; Н*м t - время срабатывания; с |
Клапаны предохранительные прямого действия предназначены для защиты оборудования от превышения давления рабочей среды выше допустимой величины.
Закрывается клапан при понижении давления пара в защищаемом объекте до определенной величины рабочего давления.
Выбор предохранительного клапана из номенклатуры, приведенной в данном каталоге, осуществляется в зависимости от параметров рабочей среды в защищаемом объекте и необходимой пропускной способности.
Количество предохранительных клапанов и их пропускная способность для энергоустановок общего назначения должны быть выбраны по расчету в соответствии с НТД, согласованной с Ростехнадзором РФ.